0771-5791162
首页
明星产品
静音发电机组
潍柴发电机组
珀金斯发电机组
沃尔沃发电机组
康明斯柴油发电机组
上柴发电机组
玉柴发电机组
产品展示
新闻中心
视频展示
企业动态
中标通知书
技术支持
案例中心
企业资质
服务跟踪
联系我们
网站首页
明星产品
静音发电机组
潍柴发电机组
珀金斯发电机组
沃尔沃发电机组
康明斯柴油发电机组
上柴发电机组
玉柴发电机组
产品展示
新闻中心
企业动态
中标通知书
技术支持
案例中心
企业资质
服务跟踪
联系我们
Open Nav
添加微信好友了解产品
w13667715899
+ 关注
走进
明星产品
产品展示
新闻中心
技术支持
荣誉资质
服务跟踪
静音发电机组
潍柴发电机组
珀金斯发电机组
沃尔沃发电机组
康明斯柴油发电机组
上柴发电机组
玉柴发电机组
当前位置:
首页
>
技术支持
柴油发电机组燃料系统维护常识
正确地使用与维护保养好燃料系统是保证柴油机正常运转的关键。柴油清洁是燃料系统使用和维护的最根本问题。
查看更多
2018-06-06
1200KW原装进口康明斯柴油发电机组技术参数
1200KW康明斯柴油发电机组在节能和环保方面有着明显的优势,康明斯发动机具有功率大、可靠性好、油耗低、排放低、操作维护方便、维护保养维修成本低等特点
查看更多
2018-06-05
电动燃油泵分为波纹管式和叶轮叶片式两种
电动燃油泵:电动燃油泵相比机械式的确有一些优势。通电后,电动燃油泵可以独立地运转。接通开关后,它们就可以泵送燃油:机械式燃油泵在输送燃油前,发动机必须发动或运转。
查看更多
2018-06-04
柴油发电机组机械叶片式输油泵和柱塞式输油泵的构造和工作原理
输油泵的功能是将油箱内的油液提高一定压力,以克服油液通过滤清器的阻力,保持连续不断地向喷油泵输送具有一定压力和流量的柴油。输油泵的结构很多
查看更多
2018-06-04
柴油发电机组的燃料供给系统中燃油箱起什么作用?
柴油发电机,燃料供给系统,燃油箱,柴油机
查看更多
2018-06-03
发电机组的柴油机适用柴油牌号及柴油机的燃烧室类型
各种柴油机根据结构与性能要求不同,在使用说明中都明确规定了适用柴油牌号;高速柴油机一-般在夏季或环境温度在0℃以上时,选用0号轻柴油;在冬季或环境温度低于0℃时,选用- 10号轻柴油:
查看更多
2018-06-03
柴油发电机组两极式调速器全程式调速器工作原理及其构造
两极式调速器的工作原理图。这种调速器可在两种转速(低速和标定转速)下起作用。其主要特点是调速弹簧由两根组成,外调速弹簧4较长,但其刚性较弱;
查看更多
2018-06-01
简单介绍柴油发电机组柴油机燃料系统
柴油机燃料系统的功能是向汽缸供给清洁的空气和按柴油机各种情况的要求定时定量地向燃烧室喷人燃油,并将燃烧的废气排到大气中去柴油机燃料系统由燃油供给系统,混合气形成系统、空气供给装置和废气排出装置等部分组成燃油供给和调速系统由输油泵、燃抽滤清器,喷油泵、调速器、喷油器及燃油管路等零部件组成。
查看更多
2018-05-31
评定柴油发电机组使用的柴油好坏四大特性
柴油机所用的主要燃料一柴油,有以下特点:自燃点低,黏度大,密度大、闪点高、性能稳定,在运输和储存过程中易挥发和变质。使用安全,成本低。包括发动机燃料在内的许多产品都可以从原油中提炼出来。通常是通过蒸馏使原油中的所有碳氯化合物汽化提取柴油等燃料。
查看更多
2018-05-31
柴油发电机组冷却系统防冻液3大故障及维修方法
防冻液是发电机组维护保养所需的配件中的重要一种。当环境温度低于零度时,冷却系统中的水就会转变为冰,冷却系统的部件就会有被膨胀裂损的危险,我们需要对柴油机冷却系统的故障问题进行发析
查看更多
2018-05-30
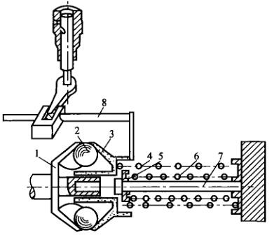
柴油发电机组单程式调速器工作原理及其构造
机械式调速器工作原理,分为单程式调速器工作原理,两极式调速器工作原理,全程式调速器工作原理三部分。
查看更多
2018-05-29
柴油发电机组调速器的作用及分为7大类
调速器种类根据机头不同可分为机械师、液压式、启动式和电子式4种。根据调整的转速范围可分为单程式、两极式、全程式3种。电力给大家介绍这几种调整器。
查看更多
2018-05-29
4369 条记录 356/365 页
上一页
下一页
第一页
上5页
356
357
358
359
360
下5页
最后一页
1
2
3
4
5
6
7
8
9
10
11
12
13
14
15
16
17
18
19
20
21
22
23
24
25
26
27
28
29
30
31
32
33
34
35
36
37
38
39
40
41
42
43
44
45
46
47
48
49
50
51
52
53
54
55
56
57
58
59
60
61
62
63
64
65
66
67
68
69
70
71
72
73
74
75
76
77
78
79
80
81
82
83
84
85
86
87
88
89
90
91
92
93
94
95
96
97
98
99
100
101
102
103
104
105
106
107
108
109
110
111
112
113
114
115
116
117
118
119
120
121
122
123
124
125
126
127
128
129
130
131
132
133
134
135
136
137
138
139
140
141
142
143
144
145
146
147
148
149
150
151
152
153
154
155
156
157
158
159
160
161
162
163
164
165
166
167
168
169
170
171
172
173
174
175
176
177
178
179
180
181
182
183
184
185
186
187
188
189
190
191
192
193
194
195
196
197
198
199
200
201
202
203
204
205
206
207
208
209
210
211
212
213
214
215
216
217
218
219
220
221
222
223
224
225
226
227
228
229
230
231
232
233
234
235
236
237
238
239
240
241
242
243
244
245
246
247
248
249
250
251
252
253
254
255
256
257
258
259
260
261
262
263
264
265
266
267
268
269
270
271
272
273
274
275
276
277
278
279
280
281
282
283
284
285
286
287
288
289
290
291
292
293
294
295
296
297
298
299
300
301
302
303
304
305
306
307
308
309
310
311
312
313
314
315
316
317
318
319
320
321
322
323
324
325
326
327
328
329
330
331
332
333
334
335
336
337
338
339
340
341
342
343
344
345
346
347
348
349
350
351
352
353
354
355
356
357
358
359
360
361
362
363
364
365
热门产品
康明斯柴油发电机组
上柴柴油发电机组
玉柴柴油发电机组
移动拖车发电机组
静音发电机组
无锡斯坦福发电机型号
上海斯坦福发电机型号
推荐文章
map