机械式调速器之一的I号喷油泵调速器的构造-广西柴油发电机组
前面我们介绍了《柴油发电机组I号喷油泵由分泵、油量控制机构、传动机构和泵体四部分》,推荐大家阅读,今天电力为大家介绍I号喷油泵调速器的构造。
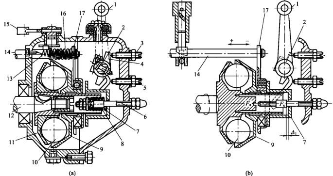
I号喷油泵调速器为机械全程式调速器,其构造如图所示。I号喷油泵调速器主要由驱动件、飞球、调速弹簧、传动部分和操纵部分等组成。I号喷油泵调速器的驱动件为具有60°。锥面的驱动盘。在驱动盘的内侧有六个沿径向的半圆形凹槽。驱动盘压紧在驱动轴套上而与其连成一体,然后通过半圆键和锁紧螺母使其和喷油泵的凸轮轴相连。

I号喷油泵调速器的构造
1-调速手柄 2-调速弹簧 3-高速限位螺钉 4-调速限位块 5-怠速限位螺钉 6-油量限位螺钉 7-滑套 8-校正弹簧 9-推力盘 10-飞球11-驱动盘 12-凸轮轴 13-启动弹簧14一拉杆 15-停车手柄 16-停车弹簧 17-传动板
六个直径为25.4mm的飞球置于驱动盘的凹槽内,随驱动盘一起旋转。飞球另一侧为与轴线成45°锥面的推力盘,推力盘滑套在驱动轴套上。工作时飞球的离心力作用在推力盘上,其轴向分力Fa.将使推力盘沿轴向滑动。套装在推力盘.上的滑动轴承和传动板也随之移动。传动板上端套在供油拉杆上,因此供油拉杆也随之移动,从而改变供油量。
在调速器纵轴上套有一根扭簧,即调速弹簧。扭簧两端压在滑套上,滑套端面则紧靠传动板,当传动板向左移动时,需要克服弹簧的压力。转动调速手柄即可改变扭簧的压力,因而改变了调速器起作用的转速。
在操纵轴上装有调速限位块它随调速手柄一道转动。顺时针转动调速手柄,使调速限位块上端与高速限位螺钉相碰时,调速弹簧的预紧力最大,对应于柴油机最高转速工况(一般即为标定转速)。反时针转动调速手柄,使限位块下端与怠速限位螺钉相碰,调速弹簀的预紧力最小,对应于柴油机的最低转速工况。
更多柴油发电机组资讯尽在m.zgyus.com/,若您在找柴油发电机组厂家可以直接电话联系我们:13667715899
报价:13667715899
上一篇:
柴油机I号喷油泵调速器的5大工况下一篇:
柴油发电机组燃料系统维护常识
推荐文章
- 300KW沃尔沃柴油发电机组:为何成为众多工程的首选动力? 2026-03-16
- 同样是150kw,为何它更可靠?因为有一颗强劲的“芯”!沃尔沃柴油发电机组,守护您的业务不断电 2026-03-14
- 动力巨擎,智控机组——400KW上柴柴油发电机组,重新定义你的电力保障标准! 2026-03-13
- 400KW上柴柴油发电机组,工业级电力保障的王者之选 2026-03-13
- 动力巨擎,应急先锋——康明斯720KW柴油发电机组,如何定义“可靠”? 2026-03-12
- 工厂备电选多大?直接上硬货:这台500kW玉柴发电机组,让电力永不掉线 2026-03-11
- 2026备电选多大?为什么懂行的老板都选这台500kW发电机组? 2026-03-11
- 停电不焦虑,这台康明斯250KW柴油发电机组才是工厂的底气! 2026-03-10
- 38升V12“心脏”!800KW康明斯发电机组,如何成为高端项目的“必备电力设备”? 2026-03-09
- 关键时刻,康明斯400KW发电机组,为你的核心负载提供可靠且稳定的保障! 2026-03-07






桂公网安备45010702002247