老师傅来解惑,详解直流电动机结构及工作原理!
一.直流电动机的结构:
直流电动机主要由磁极、电枢、换向器三部分组成,其结构如图1所示。

(1)磁极。磁极是电动机中产生磁场的装置,如图2所示。它分成极心1和极掌2两部分。极心上放置励磁绕组,极掌的作用是使电动机空气隙中磁感应强度的分布最为合适,并用来挡住励磁绕组;磁极是用钢片叠成的,固定在机座上;机座也是磁路的一部分。机座常用铸钢制成。直流电动机的磁极及磁路:1-极心 2-极掌 3-励磁绕组 4-机座

(2)电枢。电枢是电动机中产生感应电动势的部分。直流电动机的电枢是旋转的,电枢铁心呈圆柱状,由硅钢片叠成,表面冲有槽,槽中放有电枢绕组,如图3所示。

(3)换向器。换向器是直流电动机的一种特殊装置,其外形如图4所示,主要由许多换向片组成,每两个相邻的换向片中间是绝缘片。在换向器的表面用弹簧压着固定的电刷,使转动的电枢绕组得以同外电路联接。换向器是直流电动机的结构特征,易于识别。
二.直流电动机的工作原理
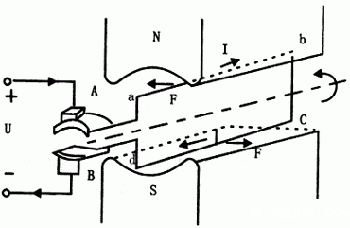
5是直流电动机的示意图。若在A、B之间外加一个直流电压,A接电源正极,B接负极,则线圈中有电流流过。当线圈处于图5所示位置时,有效边ab在N极下,cd在S极上,两边中的电流方向为a→b,c→d。由安培定律可知,ab边和cd边所受的电磁力为:F=BLI

式中,I为导线中的电流,单位为安(A)。根据左手定则知,两个F的方向相反,如图5所示,形成电磁转矩,驱使线圈逆时针方向旋转。当线圈转过180°时,cd边处于N极下,ab边处于S极上。由于换向器的作用,使两有效边中电流的方向与原来相反,变为d→c、b→a,这就使得两极面下的有效边中电流的方面保持不变,因而其受力方向,电磁转矩方向都不变。
由此可见,正是由于直流电动机采用了换向器结构,使电枢线圈中受到的电磁转矩保持不变,在这个电磁转矩作用下使电枢按逆时针方向旋转。这时电动机可作为原动机带动生产机械旋转,即由电动机向机械负载输出机械功率。
以上相关内容由专业的柴油发电机厂家—电力设备制造有限公司为大家整理分享,希望对家有帮助。电力是一家拥有十余年柴油发电机组设计、供应、调试、维修一条龙服务的公司。主营产品:上柴,玉柴,康明斯,沃尔沃,帕金斯,道依茨发电机组等。功率范围广泛30-3000kw不等,规格型号齐全,欢迎需要选购发电机组朋友来厂参观考察:m.zgyus.com!
报价:13667715899
推荐文章
- 300KW沃尔沃柴油发电机组:为何成为众多工程的首选动力? 2026-03-16
- 同样是150kw,为何它更可靠?因为有一颗强劲的“芯”!沃尔沃柴油发电机组,守护您的业务不断电 2026-03-14
- 动力巨擎,智控机组——400KW上柴柴油发电机组,重新定义你的电力保障标准! 2026-03-13
- 400KW上柴柴油发电机组,工业级电力保障的王者之选 2026-03-13
- 动力巨擎,应急先锋——康明斯720KW柴油发电机组,如何定义“可靠”? 2026-03-12
- 工厂备电选多大?直接上硬货:这台500kW玉柴发电机组,让电力永不掉线 2026-03-11
- 2026备电选多大?为什么懂行的老板都选这台500kW发电机组? 2026-03-11
- 停电不焦虑,这台康明斯250KW柴油发电机组才是工厂的底气! 2026-03-10
- 38升V12“心脏”!800KW康明斯发电机组,如何成为高端项目的“必备电力设备”? 2026-03-09
- 关键时刻,康明斯400KW发电机组,为你的核心负载提供可靠且稳定的保障! 2026-03-07






桂公网安备45010702002247