柴油发电机组单程式调速器工作原理及其构造
柴油发电机组中有一个单程式调速器,相信许多人并不知道它是用来做什么的,下面就简单的介绍下单程式调速器的工作原理。柴油发电机组机械式调速器分为单程式调速器,两极式调速器全程式调速器。
机械式调速器工作原理是调速器要能根据外界负荷的变化,灵敏地调节供油量,以保持转速的稳定。它必须具备两个基本部分:感应元件与执行机构。感应元件用于感应外界负荷的变化。当柴油机的外界负荷变化时,由于供油量与负荷不相适应,首先引起转速的变化。负荷增加时会使转速下降,负荷减小则转速上升。因此感应元件必须能灵敏地感受到转速的波动,并及时将感受到的信号传递给执行机构。
执行机构用于根据感应元件传递的信号相应地调节供油量。当柴油机负荷增大而转速降低时,执行机构应使供油量增加,以使转速回升到初始转速。当负荷减小而转速升高时,则执行机构应减小供油量,以使转速下降到初始转速。
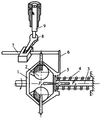
单程式调速器工作原理图

1-传动盘 2-飞球 3-支承轴 4-调速弹簧 5-推力盘 6-传动板 7-供油拉杆 8-调节臂 9-柱塞
传动盘由柴油机曲轴带动旋转。在传动盘与推力盘5之间布置了一排飞球。飞球在传动盘的带动下随着一起旋转。飞球由于受到离心力的作用而向外飞开。传动盘的轴向位置是一定的,而推力盘则滑套在支承轴3上,可以沿轴向滑动。调速弹簧4以一定的预紧力压在推力盘上。推力盘上固定有传动板传动板则和供油拉杆相连。当推力盘移动时,即通过传动板和供油拉杆使柱塞转动,以改变供油量。传动板向右移时,供油量减少。
上述调速器的感应元件为飞球,执行机构为推力盘及传动板等。当外界负荷变化引起转速变化时,飞球的离心力随即改变。因离力与转速的平方成正比,故飞球能较灵敏地感应转速的变化。飞球的离心力作用到推力盘上,并产生轴向分力Fa,迫使推力盘向右移动由于推力盘右侧作用有调速弹簧的弹力,因此推力盘的位置取决于两力是否平衡调速器的工作过程如下。
当柴油机工作时,传动盘和飞球即被曲轴驱动旋转。如飞球所产生的轴向力F小于调速弹簧弹力Fp时,推力盘仍处于最左端的位置。这时调速器尚未起调节作用。当曲轴转速升高到使力F与F相等时,此时曲轴转速为调速器开始起作用的转速。显然,调速弹簧的预紧力F越大,起作用的转速越高;反之则低。
若柴油机在调速器起作用转速(Fa=Fp)下工作时,外界负荷减小,曲轴转速将上升,飞球作用到推力盘上的轴向分力将增大(Fa>Fp),推动推力盘右移并压缩调速弹簧。而传动板则使供油拉杆向供油量减小的方向移动,使转速降低,F减小,以适应外界负荷的变化。调速弹簧在被压缩的同时弹力Fp也不断增加,因此推力盘将在Fa=Fp时达到新的稳定,而供油量也与减小的负荷相对应。如外界负荷继续减小,转速则不断上升,飞球将使推力盘和传动板将供油拉杆再向右移,当外界负荷为零时,调速器将供油拉杆移至最小供油量位置,柴油机处于最高空转转速下工作。
综上所述,机械单程式调速器的工作原理可归纳为以下三点:
1.感应元件通过离心力来感应柴油机转速的变化。当负荷减小、转速增高时,其离心力增大,借助离心力的轴向分力推动供油拉杆减小供油量。当负荷增大、转速降低时,其离心力减小,调速弹簧将推动供油拉杆增加供油量。
2.调速器起作用的转速由调速弹簧的弹力所决定。
3.调速器并非使发动机的转速始终保持不变,而是使发动机的转速随负荷变化的波动被控制在允许的范围内。
机械调速器的工作能力较小,其灵敏度和精度均较差,但其结构简单,维护方便。多用于中、小型柴油机。电力设备制造有限公司柴油发电机组广泛应用于房地产、超市、医院、学校等公共场合的备用应急电源及常用电源。正品保证,质量过关,咨询柴油发电机组电话:13667715899
报价:13667715899
推荐文章
- 省钱才是硬道理!这台200KW玉柴柴油发电机组,如何帮你“赚”更多? 2026-03-17
- 300KW沃尔沃柴油发电机组:为何成为众多工程的首选动力? 2026-03-16
- 同样是150kw,为何它更可靠?因为有一颗强劲的“芯”!沃尔沃柴油发电机组,守护您的业务不断电 2026-03-14
- 动力巨擎,智控机组——400KW上柴柴油发电机组,重新定义你的电力保障标准! 2026-03-13
- 400KW上柴柴油发电机组,工业级电力保障的王者之选 2026-03-13
- 动力巨擎,应急先锋——康明斯720KW柴油发电机组,如何定义“可靠”? 2026-03-12
- 工厂备电选多大?直接上硬货:这台500kW玉柴发电机组,让电力永不掉线 2026-03-11
- 2026备电选多大?为什么懂行的老板都选这台500kW发电机组? 2026-03-11
- 停电不焦虑,这台康明斯250KW柴油发电机组才是工厂的底气! 2026-03-10
- 38升V12“心脏”!800KW康明斯发电机组,如何成为高端项目的“必备电力设备”? 2026-03-09






桂公网安备45010702002247