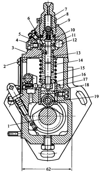
柴油发电机组I号喷油泵由分泵、油量控制机构、传动机构和泵体四部分组成
今天电力为大家分享一下国产柴油发电机组核心部件喷油泵-国产I号喷油泵。如图所示,为四缸柴油机I号喷油泵的总体构造图。由分泵、油量控制机构、传动机构和泵体四部分组成。
分泵:在柱塞上部的圆柱面上铣有45°的左向斜槽,槽中钻有小孔,与柱塞中心的小孔相通。柱塞中部有一浅的小环槽,可储存少量柴油,以润滑柱塞与柱塞套筒之间的摩擦面。柱塞套筒上有两个在同一高度上的小孔,靠近斜槽一边的为回油孔,另一边为进油孔。在塞套筒装入泵体后,为了保证这两个油孔的正确位置,同时,为防止柱塞套筒在工作时发生转动,在柱塞套筒上部铣有小槽,并且用定位螺钉加以定位。柱塞套筒的上部为出油阀偶件(出油阀和出油阀座)和出油阀紧座。出油阀座与柱塞套筒上端面之间的密封是靠加工精度来保证的,并借出油阀紧座通过铜垫圈将出油阀座压紧在柱塞套筒上。出油阀紧座的拧紧力矩为50~70N·m,过大可能压碎垫圈。

I号喷油泵的分泵构造图
1-高压油管接头; 2-出油阀; 3-出油阀座; 4,14-进油螺钉; 5-套简; 6-柱塞; 7-柱塞弹簧; 8-油门拉杆; 9-调节臂; 10-凸轮轴; 11-固定接盘; 12-输油泵偏心轮; 13-输油泵; 15-放油螺塞; 16-手油泵; 17-驱动盘; 18-从动盘; 19-壳体; 20-滑套; 21-校正弹簧; 22-油量调整螺钉; 23-怠速限位螺钉; 24-高速限位螺钉; 25-调速手柄; 26-调速弹簧; 27-飞球
滚轮体总成:它由滚轮体、滚轮及调整垫块等组成。滚轮内套装有滚轮衬套,它们之间可相对转动,而滚轮衬套也可在滚轮轴上转动,这样就使各零件磨损较均匀,提高了使用寿命。滚轮体装在喷油泵下体的垂直孔内,滚轮体一侧开有轴向长孔,定位螺钉尾部伸入此孔中,既可防止滚轮体工作时转动,又不致妨碍其上下运动。
油量控制机构:国产I、Ⅱ、Ⅲ号系列泵都采用拨叉式油量控制机构。对于四缸喷油泵,则在同一供油拉杆上,用螺钉固紧有四个调节叉,各分泵柱塞尾端的调节臂球头,分别放入相应调节叉的槽中,当供油拉杆移动时,使四个柱塞同时转动,从而改变了各缸的供油量。柴油工作时,供油拉杆由调速器自动控制,根据外界负荷的变化自动调节供油量。如果分泵供油不合适而需要调节,则可松开该调节叉的锁紧螺钉,使调节叉在供油拉杆上移动一定距离即可。
传动机构:主要由驱动齿轮、凸轮轴和滚轮体等组成。驱动齿轮由曲轴通过情齿轮带动。传动机构的主要功用是推动柱塞向上运动,而柱塞下行则是靠柱塞弹簧的弹力。凸轮轴上的偏心轮用于驱动输油泵。凸轮轴另一端固定有调速器的驱动盘,通过它将动力传给调速器。凸轮轴的两端由锥形滚柱轴承支承。通过一端装于轴承内圈一侧的调整垫片可调整凸轮轴的轴向间隙。调整时,要求凸轮轴转动灵活而最大间隙不超过0.15mm滚轮体的构造如图所示。
滚轮体总成的主要功用是保证供油开始时刻的准确性,对于多缸柴油机而言,还要保证各缸供油时刻的一致性。起保证作用的部位是滚轮下部到调整垫块上平面的高度H。当喷油泵凸轮轴齿轮与曲轴齿轮相对位置一定时,H越大,柱塞关闭进油孔的时刻越早,供油开始时刻也越早。反之,H越小,供油开始时刻越延迟。因此要根据设计和试验定出合适的滚轮体工作高度H,以保证供油开始时刻的准确性。

1-凸轮轴; 2-柱塞斜槽; 3-泵盖; 4-定位螺钉; 5-回油道; 6-回油孔; 7-出油阀弹簧; 8-出油阀紧座; 9-出油阀; 10-出油阀座; 11-进油孔; 12-进油道; 13-柱塞; 14-柱塞套简; 15一柱塞弹簧; 16-弹簧座; 17-挺柱体:; 18-垫块; 19-滚轮
对于多缸机,各分泵的H值应相等。调整垫块在喷油泵出厂时均已调好,不可随意互换。垫块是用耐磨材料制成并进行热处理以提高硬度,因此使用中不易磨损。如长时间使用后磨损较多,可换面使用。
喷油泵泵体分上下两部分,喷油泵上体用于安装柱塞偶件及出油阀偶件,下体用于安装凸轮轴、滚轮体和输油泵等。泵体前侧中部开有检视窗孔,以便检查和调整供油量。下部有检视机油面的检视孔。喷油泵上体中有一条油道,与各柱塞套筒外面的环形油槽相通。环形油槽则与柱塞套筒上的进、回油孔相通。由输油泵供来的低压油通过进油管接头进入油道中。油道中的柴油压力由装在回油管接头内的回油阀控制,一要求保持在5~10kPa范围内。油压过低,在柱塞下行时,柴油不能迅速通过进油孔进入柱塞上部油腔。当油量过多而使油压升高时,多余的柴油会顶开回油阀流入柴油细滤器中。
广西柴油发电机组厂家电力为您提供国产、进口柴油发电机组、柴油发电机组设计、安装、培训及柴油发电机组故障技术咨询;发电机服务热线:13667715899
上一篇:
柴油发电机组闭式循环水冷却系统下一篇:
国产柴油发电机组B型喷油泵的构造及特点
推荐文章
- 为什么数据中心等对电力需求严格的行业都认准“上柴+斯坦福”?解读这台500KW上柴柴油发电机组为何能碾压同级 2026-03-19
- 别让断电给你的工厂带来损失!数据中心都在用的“电力底牌”,让你永不跳闸! 2026-03-19
- 400KW大功率+12缸V型+智能控制:这台400KW上柴柴油发电机组到底有多强? 2026-03-18
- 省钱才是硬道理!这台200KW玉柴柴油发电机组,如何帮你“赚”更多? 2026-03-17
- 300KW沃尔沃柴油发电机组:为何成为众多工程的首选动力? 2026-03-16
- 同样是150kw,为何它更可靠?因为有一颗强劲的“芯”!沃尔沃柴油发电机组,守护您的业务不断电 2026-03-14
- 动力巨擎,智控机组——400KW上柴柴油发电机组,重新定义你的电力保障标准! 2026-03-13
- 400KW上柴柴油发电机组,工业级电力保障的王者之选 2026-03-13
- 动力巨擎,应急先锋——康明斯720KW柴油发电机组,如何定义“可靠”? 2026-03-12
- 工厂备电选多大?直接上硬货:这台500kW玉柴发电机组,让电力永不掉线 2026-03-11






桂公网安备45010702002247